Egyedi gázellátás esetén általában palack a tárolóegység, amelyet a felhasználási hely közvetlen közelében helyeznek el. A gáz a palackra közvetlenül felszerelt nyomáscsökkentőn (reduktoron) keresztül jut a felhasználási berendezéshez, készülékhez a kívánt állandó, csökkentett nyomásértéken.
A reduktor a kilépő oldalon szabályozhat:
- nyomást, vagy
- mennyiséget (áramlási sebességet, azaz térfogatáramot).
NYOMÁSSZABÁLYOZÁSÚ REDUKTOROK
A nyomásszabályozású reduktorokat akkor célszerű használni, ha a szükséges gázmennyiséget adott nyomáson kell biztosítani. A kilépő mennyiség (térfogatáram) ilyenkor a nyomás változásával változik.
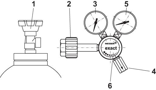
Gázpalack reduktor részei

- Palackszelep
- Reduktor csatlakozó
- Belépő oldali (palack) nyomásmérő (manométer)
- Biztonsági szelep (nyomásleengedő/lefúvató szelep)
- Kilépő oldali nyomásmérő (manométer)
- Nyomásbeállító csavar
A nyomásszabályozású reduktorok felépítés szerint lehetnek:
egylépcsős (egyfokozatú) reduktorok: amelyek a nyomáscsökkentést egy lépcsőben valósítják meg. Hátrányuk, hogy a kilépő nyomás a felhasználás során változik. A belépő nyomás csökkenésekor – azaz a csatlakoztatott gázpalack ürítése során – a szabályozó csavar változatlan beállítása esetén a kilépő nyomás kis mértékben növekszik. Ez a gyakran zavaró hatás egyfokozatú nyomásszabályozó esetén előnyomás-kiegyenlítővel korrigálható.
kétlépcsős (kétfokozatú) reduktorok: amelyek a nyomáscsökkentést két lépcsőben valósítják meg. Előnyük, hogy a belépőnyomás csökkenésével a kilépőnyomás nem változik. Ezek az első fokozatban a belépő nyomást a gyárilag beállított közbenső (pl. 20 bar) nyomásra csökkentik, a szükséges kilépő nyomást pedig a második fokozatban szabályozzák. A kétfokozatú nyomásszabályozó használatakor a palacktöltet nyomásának csökkenésekor sem változik a kilépő nyomás.
A szabályozott kilépő nyomás változása a gázpalack ürítésének függvényében egy- és kétfokozatú reduktor használatakor

A reduktorokat a legnagyobb kilépő gáznyomás alapján több változatban gyártják, pl: 1; 2,5; 4; 10; 20; 50; 100 bar felhasználási nyomásra.
MENNYISÉGSZABÁLYZÁSÚ REDUKTOROK
A mennyiségszabályzású reduktorok állandó nyomáson különböző szabályozott mennyiségű gázt biztosítanak. A reduktor a kilépő mennyiséget liter/min egységben (például 16, 32, 50 l/min méréshatárral) méri, kijelzése lehet:
- körszámlapos, mutatós (órás),
- lebegőtestes (rotaméteres).
Jellemzően elsősorban védőgázos hegesztési eljárásokban (argonhoz, Ferroline gázkeverékekhez, szén-dioxidhoz) használatosak.
A biztonságos gázhasználat érdekében nagyon fontos:
- a palackok megfelelő rögzítése,
- gázspecifikus reduktor (a palackszelepre közvetlenül (!) csatlakoztatható) és tömlő használata,
- megfelelő típusú és fokozatú nyomáscsökkentő használata,
- éghető és égést tápláló gázok esetében visszaégés-gátló használata.



